防火卷簾分類
作者:錦宏門業
日期:2024-03-28 10:06:21
閱讀量:0
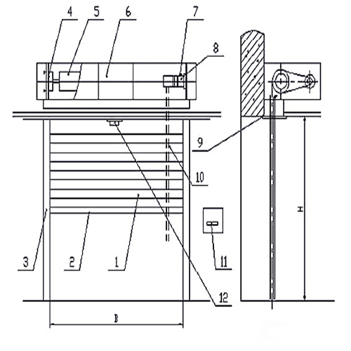
防火卷簾是指在一定時間內,連同框架能滿足耐火穩定性和完整性要求的卷簾。由控制箱、穿線管、電子鎖盒、護罩、簾面、導槽、卷軸、防火電動卷簾門機等組成,如下圖:

防火卷簾分類
1、按材質分
鋼質防火卷簾
指用鋼質材料做簾板、導軌、座板、門楣、箱體等,并配以卷門機和控制箱所組成的能符合耐火完整性要求的卷簾。
無機纖維復合防火卷簾
指用無機纖維材料做簾面(內配不銹鋼絲或不銹鋼絲繩),用鋼質材料做夾板、導軌、座板、門楣、箱體等,并配以卷門機和控制箱所組成的能符合耐火完整性要求的卷簾。
特級防火卷簾
指用鋼質材料或無機纖維材料做簾面,用鋼質材料做導軌、座板、夾板、門楣、箱體等,并配以卷門機和控制箱所組成的能符合耐火完整性、隔熱性和防煙性能要求的卷簾。
2、按型式分
卷軸式
簾面通過卷軸卷動卷起來的防火卷簾。
折疊提升式
簾面通過折疊型式收縮的防火卷簾。